執行器知識 當前位置: 電動閥門廠家> 新聞資訊> 執行器知識> 【電動調節閥】三種多級降壓結構的調節閥對比分析
在現代工業生產過程中,電動調節閥是用于控制系統改變管路中流體流量的裝置,是管系中的終端控制元件,起著分配流體介質、調節流體流量等重要作用。本文對常見的各類多級降壓電動調節閥的結構、工作原理及特點分別進行介紹。為用戶了解多級降壓電動調節閥的特點并合理選用提供了參考。


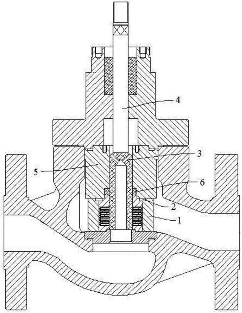
串級式多級降壓結構如圖1所示,這種結構把原本的一個整體的節流區域以多個分開的節流區域互相串聯,從而使較大的壓差轉換為多個較小的壓差,使每一次的降壓范圍都控制在飽和蒸汽壓以上,使空化現象不再出現。


圖1 串級式電動調節閥
串級式電動調節閥多用于液體介質工作的場合,其特點在于:
1)啟閉過程中能夠減輕持續壓差,每一級節流口的動作均滯后于上一級節流口,可以使在啟閉過程時作用于閥口的持續高壓逐級減輕,分擔了di一級節流口的壓力。
2)流阻較小,可以勝任流體清潔度不高,甚Zhi固液兩相流的場合。
3)串級式閥芯一般進行碳化鎢噴涂硬化處理,抗沖刷汽蝕性能良好。
4)制造過程與其他多級降壓調節閥相比工藝較為簡單,加工方便,制造成本也較為低廉。
5)串級式調節閥一般降壓級數有限,多為3~4級,不能應用于壓差過高的場合。
多層套筒式調節閥典型結構特征是閥芯部分節流件由數層加工有小孔的套筒構成,每層套筒之間都留有一定的間隙,使流體流經套筒時得以緩沖,從而將流體速度控制在一定范圍內。
多層套筒式多級降壓結構如圖2所示,經常用于電站或化工等行業中。

圖2 多層套筒式電動調節閥
其特點在于:
1)多級套筒式電動調節閥降壓級數可以設計得較大,降壓能力與串級式相比較強,能夠勝任高壓差的場合。
2)多層套筒式結構既能滿足較高的壓降要求,同時又能在工作時保證較大的流量。
3)抗汽蝕性能良好,用于液體介質時,流體由Zui外側套筒流向Zui內側,液體介質在套筒中逐級降壓以減輕空化汽蝕現象的發生,并且流體Zui終從內側套筒上的小孔中噴射Zhi中心閥腔區域,使汽泡在套筒中心部位破裂,不直接對閥門金屬表面產生傷害。
4)抗噪聲、振動性能良好,用于氣體介質時由套筒內側向外流動,靠外側套筒的孔徑和間隙與內側相比均有所擴大,使氣體介質在逐級降壓過程中不斷膨脹,可以有Xiao地降低噪聲及振動帶來的危害。
5)套筒加工過程比較復雜,成本較高。但安裝與維護簡便,易于更換。
迷宮盤片式多級降壓結構如圖3所示,其核心節流部分由多個開有迷宮式溝槽的金屬盤片疊加而成。流體流經迷宮流道中經過多次碰撞轉折,消耗能量,在逐級降壓過程的同時,使流速也得到了控制。


圖3 迷宮式電動調節閥
一般多用于核能、電站等行業中高溫高壓降的特殊場合,工作介質多為過熱蒸汽,也能用于液體介質。其特點如下:
1)迷宮流道的拐彎級數就是迷宮式調節閥的降壓級數,一般可達十幾到二十幾級,所以迷宮式多級降壓結構是常見多級降壓調節閥中降壓能力Zui強的,國外有產品Zui高可以達40mpa。
2)出色的抗汽蝕沖刷及消聲減振性能,多級拐彎迷宮式流道可以有Xiao地控制流體流速,避免空化、噪聲及振動等不良現象的發生。
3)通過使用不同形式的迷宮盤片進行組合,迷宮式調節閥可以達到不同的流量特性調節曲線。
4)迷宮式盤片制造精度要求很高,一般由司太立合金堆焊,有較長的使用壽命;安裝與維護比較簡便,盤片易更換。
5)迷宮式流道對流體介質的清潔度要求較高,否則迷宮流道容易發生堵塞。
AOXIANG致力于研發,設計,制造各種電動執行器、電動閥門(電動蝶閥、電動球閥、電動閘閥、電動調節閥)等已有20余年歷史,憑借多年豐富的現場應用經驗,為壓力,流量和液位等流體控制應用領域提供電動閥門、電動執行器(角行程電動執行器、直行程電動執行器、多回轉電動執行器)、電動蝶閥、電動球閥及解決方案。